东莞市瀚阳电子仪器有限公司

400-889-8865
您当前的位置:首页   »   产品中心   »   家用电器试验机

注:本图片仅供参考

电磁灶容器(低碳钢锅)

电磁灶容器(低碳钢锅)型号:FZ-1226B

服务热线:400-889-8865
查看销售/服务电话
东莞总公司:0769-23137460
浙江分公司:0574-63633526
产品图片
  • 产品概述
  • 技术参数
  • 附件
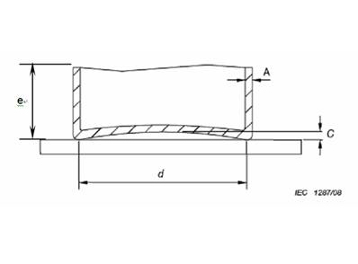
IEC60335-2-9:2012/ GB4706.14-2008 图104;IEC60335-2-6 / GB4706.22-2008图102

一、适用标准:
IEC60335-2-9:2012/ GB4706.14-2008 图104;IEC60335-2-6 / GB4706.22-2008图102,用于测试电磁灶的容器。

二、材料:
本容器为低碳钢制成,最大含碳量为0.08%,为不带手柄和突起的圆柱体,底部平面区域的直径至少为烹饪的直径。容器底部最大凹度C为0.006d;d是底部平面区域的直径。容器底部不是凸的。(注:本产品不采用高温不沾涂料进行表面防护处理)。
















































烹饪区域直径




d

mm




e

mm




a

mm




c

mm




≤110




110




140




2±0.5




<0.006 d




110≤145




145




140




2±0.5




<0.006 d




145≤180




180




140




2±0.5




<0.006 d




180≤220




220




120




2±0.5




<0.006 d




220≤300




300




100




2±0.5




<0.006 d



 
技术支持
技术支持>

燃烧试验机、漏电起痕、灼热丝试验仪等产品的应用技术指引。

联系我们
联系我们>

如有任何问题或建议,欢迎您随时与我们联系!

相关产品
公司简介
产品中心
与瀚阳互动

返回首页 | 网站地图 | 联系我们

©2019-2025 瀚阳仪器 All Rights Reserved. 24小时免费服务热线:400-889-8865

粤ICP备09187064号